红网时刻新闻12月9日讯(记者 黄怡萍)今日,长沙市国土资源网上交易系统集中成交了一批国有建设用地使用权,累计成交金额近20亿元。本次成交的12宗地块中,望城区一宗综合用地以7.1亿元总价成为本轮的“地王”。
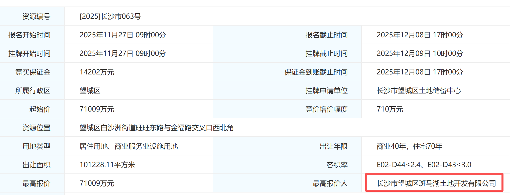
在本轮集中成交中,总价最高的三宗地块均顺利出让。其中,[2025]长沙市063号地块以7.1009亿元成交,成为本轮土地市场的焦点。该地块位于望城区白沙洲街道旺旺东路与金福路交叉口西北角,由长沙市望城区斑马湖土地开发有限公司竞得。地块出让面积达101228.11平方米,用地类型为居住用地、商业服务业设施用地,出让年限为商业40年、住宅70年。其容积率E02 - D44≤2.4、E02 - D43≤3.0。

[2025]长沙市063号地块以7.1009亿元成交
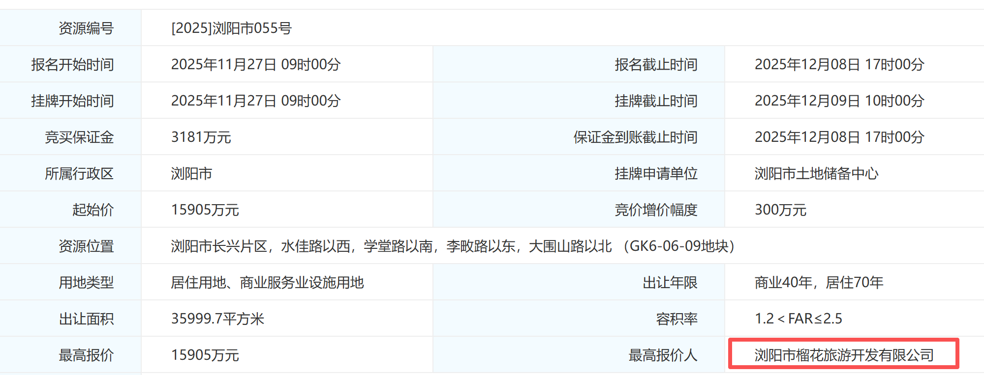
成交价位列第二、三位的均为浏阳市地块。位于浏阳市氮肥厂、浦梓港片区的[2025]浏阳市056号地块,成交价3.5975亿元,竞得方为浏阳市文化旅游产业发展有限责任公司。[2025]浏阳市055号地块以总价15905万元成交,由浏阳市榴花旅游开发有限公司竞得,出让面积35999.7平方米。

[2025]浏阳市056号地块

[2025]浏阳市055号地块
此外,位于大王山科创生态城南片的[2025]长沙市062号商住用地也顺利出让,这是该片区推出的首宗优质教育商住地块。该地块用地面积48亩,住宅部分容积率为2.0,商业部分容积率为1.2,建筑面积约5.77万平方米。该地块在房地产市场趋稳,开发商拿地更为谨慎的环境下,仍能吸引多家实力房企关注,并成功出让,关键在于其与优质教育资源的深度关联及全维度优势的叠加。

[2025]长沙市062号商住用地顺利出让
本次土地出让呈现出多区域、多类型、多主体参与的特点。在长沙县,经开区[2025]长沙县052号地块成交价为1.1608亿元;浏阳经开区多宗地块顺利出让,湖南金阳新城建设发展集团有限公司以9750万元获得一宗综合用地,湖南未来智慧城市运营管理有限公司以9540万元竞得一宗商业用地,浏阳经济技术开发区恒茂产业投资有限公司表现尤为活跃,连续竞得三宗居住用地,总投入达1.364亿元。
来源:红网
作者:黄怡萍
编辑:周曼
本文为房产频道原创文章,转载请附上原文出处链接和本声明。
时刻新闻